一、产品特点:
1、全封闭全寿命机电一体化设计 2、硬齿面斜齿传动,低噪声、高效率
3、整体结构紧凑、重量轻、适应性强 4、可附加电磁制动器
二、型号标记:

注:箱体材料:L—铝合金、H—铸铁 安装型式:W—底脚式、F—法兰式
标志示例:
A GHWZ40-50
双轴铸铁箱体卧式,40机型号,减速比50
B GLF28-550-50
立式名合金箱体、28机型号、直联专用电机55W,减速比50。
C GLW28K-80B85-30
卧式铝合金箱体,28机型号,输入端IEC标准电机法兰80B5,减速比30
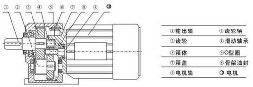
三、结构图例:

G系列封闭式齿轮减速机技术参数
|
功率KW |
机型号 |
减速机 |
输出转矩N.m |
输出转速rpm |
|
0.12
0.18 |
18 |
3 |
3.4 |
460.0 |
|
5 |
5.6 |
276.0 |
|
10 |
11.2 |
138.0 |
|
15 |
16.9 |
92.0 |
|
20 |
22.5 |
69.0 |
|
25 |
28.1 |
55.2 |
|
30 |
33.8 |
46.0 |
|
40 |
45.1 |
34.5 |
|
50 |
56.3 |
27.6 |
|
22 |
60 |
67.6 |
23.0 |
|
80 |
90 |
17.3 |
|
100 |
112 |
13.8 |
|
120 |
135 |
11.5 |
|
160 |
180 |
8.7 |
|
200 |
225 |
6.9 |
|
0.25
0.37 |
22 |
3 |
7 |
460.0 |
|
5 |
11.6 |
276.0 |
|
10 |
23.1 |
138.0 |
|
15 |
34.7 |
82.0 |
|
20 |
46.3 |
69.0 |
|
25 |
57.9 |
55.2 |
|
30 |
69.5 |
46.0 |
|
40 |
92.6 |
34.5 |
|
50 |
115 |
27.6 |
|
28 |
60 |
139 |
23.0 |
|
80 |
185 |
17.3 |
|
100 |
231 |
13.8 |
|
120 |
277 |
11.5 |
|
130 |
350 |
8.7 |
|
200 |
350 |
6.9 |
|
0.55
0.75 |
28 |
3 |
14 |
466.7 |
|
5 |
23.4 |
280.0 |
|
10 |
46.9 |
140.0 |
|
15 |
70.4 |
93.3 |
|
20 |
93.9 |
70.0 |
|
25 |
117 |
56.0 |
|
30 |
140 |
46.7 |
|
40 |
187 |
35.0 |
|
4 |
50 |
3 |
75 |
478 |
|
5 |
125 |
287.0 |
|
10 |
250 |
143.5 |
|
15 |
375 |
95.7 |
|
20 |
500 |
71.8 |
|
25 |
626 |
57.4 |
|
30 |
751 |
47.8 |
|
40 |
1001 |
35.9 |
|
50 |
1252 |
28.7 |
|
0.12
0.18 |
18/28 |
300 |
315 |
4.6 |
|
375 |
350 |
3.7 |
|
450 |
350 |
3.1 |
|
22/32 |
600 |
500 |
2.3 |
|
750 |
500 |
1.8 |
|
900 |
500 |
1.5 |
|
1200 |
500 |
1.2 |
|
80 |
375 |
17.5 |
|
100 |
469 |
14.0 |
|
120 |
550 |
11.7 |
|
160 |
550 |
8.8 |
|
200 |
550 |
7.0 |
|
1.1
1.5 |
32 |
3 |
28.1 |
470.0 |
|
5 |
46.9 |
282.0 |
|
10 |
939 |
141.0 |
|
15 |
140 |
94.0 |
|
20 |
187 |
70.5 |
|
25 |
234 |
56.0 |
|
30 |
287 |
47.0 |
|
40 |
375 |
35.3 |
|
50 |
469 |
28.2 |
|
|
60 |
563 |
23.5 |
|
80 |
750 |
17.6 |
|
100 |
820 |
14.1 |
|
120 |
820 |
11.8 |
|
160 |
820 |
8.8 |
|
200 |
820 |
7.1 |
|
|
120 |
1120 |
11.8 |
|
160 |
1320 |
8.8 |
|
200 |
1320 |
7.1 |
|
0.25
0.37 |
40 |
3 |
56.3 |
470.0 |
|
5 |
93.9 |
282.0 |
|
10 |
187 |
141.0 |
|
3 |
56.3 |
470.0 |
|
5 |
939 |
282.0 |
|
10 |
187 |
141.0 |
|
15 |
281 |
94.0 |
|
20 |
375 |
70.5 |
|
25 |
469 |
56.4 |
|
30 |
563 |
47.0 |
|
40 |
751 |
35.3 |
|
50 |
50 |
820 |
28.2 |
|
60 |
1126 |
23.5 |
|
80 |
1320 |
17.6 |
|
100 |
132 |
14.1 |
|
0.25
0.37 |
22/32
28/40 |
300 |
500 |
4.6 |
|
375 |
500 |
3.7 |
|
450 |
500 |
3.1 |
|
600 |
820 |
2.3 |
|
750 |
820 |
1.8 |
|
900 |
820 |
1.5 |
|
1200 |
820 |
1.2 |
|
0.55
0.75 |
28/40 |
300 |
820 |
4.7 |
|
375 |
820 |
3.8 |
|
450 |
820 |
3.1 |
|
32/50 |
600 |
1320 |
2.4 |
|
750 |
1320 |
1.9 |
|
900 |
1320 |
1.6 |
|
1200 |
1320 |
1.2 |
法兰式外形安装尺寸

|
机型号 |
装配电机
机型 |
安装尺寸 |
轴伸尺寸 |
外形尺寸 |
重量 |
|
A |
B |
P |
H |
S |
Z |
L1 |
L2 |
D(h6) |
U |
T |
D1(h6) |
x |
x1 |
U1 |
T1 |
V |
K |
G |
W |
G |
I |
kg |
|
18 |
63 |
16.5 |
40 |
110 |
85 |
9 |
45 |
30 |
25 |
18 |
6 |
20.5 |
14 |
25 |
22 |
5 |
16 |
|
105 |
130 |
134 |
64 |
10 |
7.5 |
|
22 |
63、71 |
18 |
65 |
130 |
90 |
11 |
55 |
40 |
35 |
22 |
6 |
24.5 |
14 |
25 |
22 |
5 |
16 |
|
125 |
140 |
154 |
90 |
12 |
10 |
|
28 |
71、80 |
22 |
90 |
140 |
110 |
11 |
65 |
45 |
40 |
28 |
8 |
31 |
16 |
30 |
25 |
5 |
18 |
|
142 |
165 |
170 |
120 |
16 |
15 |
|
32 |
80、90 |
27 |
130 |
170 |
130 |
13 |
70 |
55 |
50 |
32 |
10 |
35 |
19 |
30 |
25 |
6 |
21.5 |
|
167 |
198 |
203 |
164 |
18 |
32 |
|
40 |
90、100 |
32.5 |
150 |
210 |
150 |
18 |
93 |
65 |
60 |
40 |
12 |
43 |
24 |
35 |
30 |
8 |
27 |
125 |
195 |
227 |
255 |
200 |
20 |
45 |
|
50 |
100、112 |
40 |
160 |
230 |
170 |
18 |
105 |
75 |
70 |
50 |
14 |
53.5 |
35 |
50 |
45 |
10 |
38 |
125 |
227 |
267 |
285 |
210 |
25 |
73 |

|
机型号 |
装配电机
机型 |
安装尺寸 |
轴伸尺寸 |
外形尺寸 |
重量 |
|
A |
B |
P(h7) |
H |
S |
N |
L1 |
L2 |
D(h6) |
U |
T |
D1(h6) |
x |
x1 |
U1 |
T1 |
V |
K |
G |
W |
G |
I |
kg |
|
18 |
63 |
16.5 |
170 |
145 |
80.5 |
9 |
3 |
30 |
25 |
18 |
6 |
20.5 |
14 |
25 |
22 |
5 |
16 |
|
105 |
158 |
33 |
154 |
12 |
7.5 |
|
22 |
36、71 |
18 |
185 |
148 |
79.5 |
11 |
4 |
40 |
35 |
22 |
6 |
24.5 |
14 |
25 |
22 |
5 |
16 |
|
125 |
165 |
44 |
165 |
12 |
10 |
|
28 |
71、80 |
22 |
215 |
170 |
94 |
11 |
4 |
45 |
40 |
28 |
8 |
31 |
16 |
30 |
25 |
5 |
18 |
|
142 |
193 |
49 |
186 |
16 |
15 |
|
32 |
80、90 |
27 |
250 |
180 |
108 |
13 |
4 |
55 |
50 |
32 |
10 |
35 |
19 |
30 |
25 |
6 |
21.5 |
|
167 |
230 |
59 |
213 |
18 |
32 |
|
40 |
90、100 |
32.5 |
310 |
231 |
300 |
18 |
5 |
65 |
60 |
40 |
12 |
43 |
24 |
35 |
30 |
8 |
27 |
125 |
195 |
283 |
70 |
262 |
20 |
45 |
|
50 |
100、112 |
40 |
360 |
270 |
150 |
18 |
5 |
75 |
70 |
50 |
14 |
53.5 |
35 |
50 |
45 |
10 |
38 |
125 |
227 |
331 |
80 |
302 |
25 |
73 |
法兰式外形安装尺寸

|
机型号 |
装配电机
机型 |
安装尺寸 |
轴伸尺寸 |
外形尺寸 |
重量 |
|
A |
B |
P(h7) |
H |
S |
N |
L1 |
L2 |
D(h6) |
U |
T |
D1(h6) |
x |
x1 |
U1 |
T1 |
V |
K |
G |
W |
G |
I |
kg |
|
18/28 |
63 |
5.5 |
90 |
140 |
110 |
11 |
65 |
45 |
40 |
28 |
8 |
31 |
16 |
30 |
25 |
5 |
18 |
|
214 |
165 |
170 |
120 |
16 |
20 |
|
22/32 |
63、71 |
9 |
130 |
170 |
130 |
13 |
70 |
55 |
50 |
32 |
10 |
35 |
19 |
30 |
25 |
6 |
21.5 |
|
248 |
198 |
203 |
164 |
18 |
40 |
|
28/40 |
71、80 |
10.5 |
150 |
210 |
150 |
18 |
93 |
65 |
60 |
40 |
12 |
43 |
24 |
35 |
30 |
8 |
27 |
|
288 |
227 |
255 |
200 |
20 |
62 |
|
32/50 |
80、90 |
13 |
160 |
230 |
170 |
18 |
105 |
75 |
70 |
50 |
14 |
54 |
35 |
50 |
45 |
10 |
38 |
|
335 |
267 |
285 |
210 |
25 |
100 |
双组立式底脚外形安装尺寸

|
机型号 |
装配电机
机型 |
安装尺寸 |
轴伸尺寸 |
外形尺寸 |
重量 |
|
A |
B |
P(h7) |
H |
S |
N |
L1 |
L2 |
D(h6) |
U |
T |
D1(h6) |
x |
x1 |
U1 |
T1 |
V |
K |
G |
W |
G |
I |
kg |
|
18/28 |
63 |
5.5 |
215 |
170 |
94 |
11 |
4 |
45 |
40 |
28 |
8 |
31 |
16 |
30 |
25 |
5 |
18 |
|
214 |
193 |
49 |
186 |
16 |
20 |
|
22/32 |
63、71 |
9 |
250 |
180 |
108 |
13 |
4 |
55 |
,
50 |
32 |
10 |
35 |
19 |
30 |
25 |
6 |
21.5 |
|
248 |
230 |
50 |
213 |
18 |
40 |
|
28/40 |
71、80 |
10.5 |
310 |
230 |
130 |
18 |
5 |
65 |
60 |
40 |
12 |
43 |
24 |
35 |
30 |
8 |
27 |
|
288 |
283 |
70 |
262 |
20 |
62 |
|
32/50 |
80、90 |
13 |
360 |
270 |
150 |
18 |
5 |
75 |
70 |
50 |
14 |
53.5 |
35 |
50 |
45 |
10 |
38 |
|
335 |
331 |
80 |
302 |
25 |
100 |