|
产品展示
联系我们
地址:无锡市钱桥工业园
手机: 18168892286 传真:0510-82628805
|
|
产品展示
PRODUCT
当前位置:首页 > 产品展示
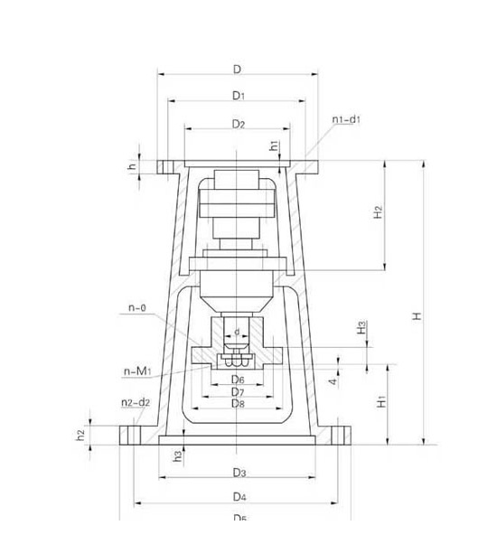
TJ搪玻璃反应罐通用机架


TJ型机架、下装JA型联轴器,主要参数及尺寸
| 机架型号 |
减速机型号 |
输入端接口 |
输出端接口 |
H |
H1 |
H2 |
H3 |
d |
D6 |
D7 |
D8 |
n-φ |
n-M1 |
| D |
D1 |
D2 |
h |
h1 |
n1-d1 |
D3 |
D4 |
D5 |
h2 |
h3 |
n2-d2 |
| TJ1 |
B1 |
230 |
200 |
170 |
20 |
6 |
6-12 |
220 |
270 |
305 |
22 |
7 |
4-24 |
514 |
201 |
185 |
15 |
35 |
60 |
110 |
140 |
4-13.5 |
1-10 |
| TJ2 |
B1 |
230 |
200 |
170 |
20 |
6 |
6-12 |
250 |
300 |
335 |
22 |
7 |
4-24 |
517 |
197 |
190 |
15 |
35 |
60 |
110 |
140 |
4-13.5 |
1-10 |
| TJ2 |
B2 |
260 |
230 |
200 |
20 |
7 |
6-13 |
250 |
300 |
335 |
25 |
7 |
4-24 |
530 |
176 |
210 |
20 |
45 |
85 |
120 |
160 |
4-13.5 |
1-12 |
| TJ3 |
B2 |
260 |
230 |
200 |
20 |
7 |
6-13 |
295 |
350 |
392 |
26 |
7 |
4-26 |
560 |
206 |
210 |
20 |
45 |
85 |
120 |
160 |
4-13.5 |
1-12 |
| TJ3 |
B3 |
340 |
310 |
270 |
20 |
7 |
6-13 |
295 |
350 |
392 |
26 |
7 |
4-26 |
560 |
191 |
210 |
20 |
45 |
85 |
120 |
160 |
4-13.5 |
1-12 |
| TJ4 |
B3 |
340 |
310 |
270 |
20 |
7 |
6-13 |
345 |
400 |
442 |
26 |
7 |
4-26 |
675 |
245 |
250 |
22 |
55 |
100 |
150 |
180 |
4-18 |
1-16 |
| TJ5 |
B3 |
340 |
310 |
270 |
22 |
7 |
6-13 |
390 |
450 |
498 |
26 |
7 |
4-30 |
680 |
250 |
250 |
22 |
55 |
100 |
150 |
180 |
4-18 |
1-16 |
| TJ6 |
B4 |
400 |
360 |
320 316 |
22 |
7 |
8-16 |
435 |
500 |
548 |
30 |
7 |
8-30 |
736 |
276 |
250 |
28 |
70 |
110 |
165 |
200 |
4-18 |
1-16 |
| TJ7 |
B5 |
490 |
450 |
400 |
26 |
10 |
12-18 |
440 |
550 |
600 |
30 |
10 |
12-22 |
805 |
261 |
296 |
36 |
90 |
150 |
190 |
230 |
6-18 |
2-12 |
| TJ8 |
B6 |
580 |
520 |
460 |
28 |
10 |
12-22 |
500 |
550 |
600 |
32 |
10 |
12-22 |
820 |
209 |
362 |
36 |
100 |
140 |
200 |
240 |
6-18 |
2-16 |
| TJ9 |
B7 |
650 |
590 |
520 |
30 |
12 |
12-22 |
560 |
650 |
700 |
40 |
10 |
12-27 |
955 |
204 |
420 |
36 |
110 |
150 |
250 |
290 |
6-27 |
3-16 |
| TJ10 |
B8 |
880 |
800 |
680 |
45 |
12 |
12-38 |
720 |
810 |
880 |
45 |
10 |
20-27 |
1200 |
304 |
550 |
40 |
130 |
180 |
290 |
350 |
8-27 |
3-16 |
|