您好!欢迎您进入江苏龙一诺机械制造有限公司官网!
设为主页 加入收藏 客户留言
服务热线
181-6889-2286
专业生产摆线针轮减速机减速电机齿轮减速机
网站首页 企业简介 产品展示 客户服务 新闻中心 技术资讯 联系我们  
产品展示
联系我们

地址:无锡市钱桥工业园

手机:
18168892286
传真:0510-82628805

产品展示

PRODUCT

当前位置:首页 > 产品展示

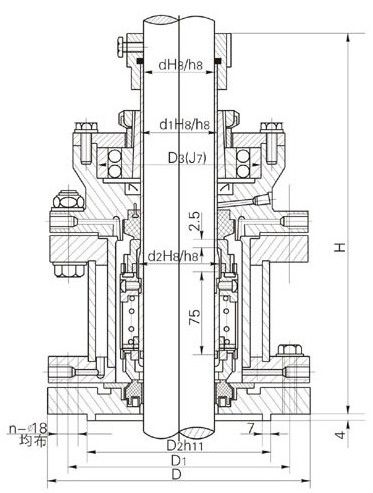
AH型釜用机械密封

AH型釜用机械密封

结构:双端面、大弹簧、平衡型

压力:≤4MPa

温度:0~300℃

转速:≤500转/分

轴径:30-95mm

适用介质:易燃、易爆、腐蚀介质

符号
dh8/h8
d1h8/h8
d2h8/h8
D
D1
D2h11
D3J7
H
N-Φ
轴径
30
30
40
45
185
150
116
85
305
6-Φ18
40
40
50
55
225
170
135
100
317
6-Φ18
 
50
60
65
235
200
164
120
330
8-Φ18
65
65
75
80
235
200
164
150
345
8-Φ18
80
80
90
95
260
225
188
180
361
12-Φ18
95
95
110
115
290
255
220
215
378
16-Φ18

TEL:18168892286

在线咨询

在线客服
网站首页    |    公司简介    |    新闻中心    |    产品展示    |    售后服务    |    联系我们

Copyright © 2017-2020 版权所有:江苏龙一诺机械制造有限公司 All Rights Reserved.
地址:无锡市钱桥工业园

传真:0510-82628805
手机:18168892286
网站:http://www.txjsjxs.com

苏ICP备15006862号-3