
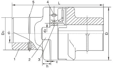
1-半联轴器
2-滑块
3-套筒
4-压注油杯
5-弹性挡圈
|
公称转柜 N·m |
许用转速 r/min |
d1 |
D0 |
D |
L |
|
d2 |
c |
质量 kg |
|
120 |
|
15 |
32 |
70
|
95
|
10
|
18 |
0.5+0.30 |
1.5 |
|
17 |
20 |
1.47 |
|
18 |
22 |
1.43 |
|
250 |
20 |
45 |
90
|
115
|
12
|
25 |
2.68 |
|
25 |
30 |
2.55 |
|
30 |
34 |
2.60 |
|
500 |
36 |
60 |
110 |
160
|
16
|
40 |
5.57 |
|
40 |
45 |
5.21 |
|
800
|
45 |
80
|
130 |
200
|
20
|
50 |
10.00 |
|
50 |
55 |
9.46 |
|
1250 |
55 |
95 |
150 |
240 |
25
|
60 |
15.40 |
|
60 |
65 |
14.46 |
|
2000
|
65 |
105
|
170
|
275
|
30
|
70 |
22.41 |
|
70 |
75 |
21.29 |
|
3200 |
75 |
115 |
190 |
310 |
34 |
80 |
31.50 |
|
80 |
85 |
29.80 |
|
5000
|
95 |
130 |
210 |
355
|
38
|
90 |
10+0.30 |
44.77 |
|
90 |
95 |
42.46 |
|
8000 |
95 |
140
|
240
|
395 |
42
|
100 |
59.44 |
|
100 |
105 |
57.02 |
|
10000
|
|
110 |
170
|
280
|
435
|
45
|
115 |
91.50 |
|
120 |
130 |
84.29 |
|
16000
|
130 |
190
|
320
|
485
|
50
|
140 |
129.55 |
|
140 |
150 |
120.0 |
|
20000 |
150 |
210 |
340 |
550 |
55 |
160 |
162.55 |
注:半联轴器和十字滑块材料:45钢,ZG310-570,表面淬火46~60HRC:套筒材料:Q235A钢。
凸榫与凹榫工作面压强验算:
P=6TcD/(D3-d31)h ≤ 【p】
式中
T8——计算转矩,N·m;
D——十字滑块的外径,mm;
d1——十字滑块的内径,mm;
h——十字滑块凸榫的高度,mm;
【p】许用压强,当半联轴器和十字滑块均为淬火钢,润滑良好,【p】=15~30MPa。当半联轴器为淬火钢,十字滑块为铸铁;
【p】=10~15MPa。