JDX系列减速器采用了现代齿轮设计制造技术,吸取了国内外同类产品的优点,总结了国内设计制造同类产品的经验,根据水泥等行业使用工况恶劣、低速重载、安全可靠、使用寿命长等特点,专门精心设计用于水泥磨、煤磨等用途的边缘传动机减速器。 JDX系列减速器采用单级减速、带专用油站、齿轮全部为硬齿面,精度达6级(GB/T10095—2001)以上,高可靠度设计,设计寿命为持久寿命,与国内外同类产品相比,具有体积小、重量轻、外形简洁大方、操作简单、维修方便、安全可靠、使用寿命长等特点。
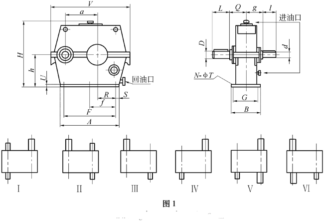
减速器外形尺寸及装配形式

JDX系列边缘传动磨机减速器外形尺寸及装配形式
|
型号 |
输入轴 |
输出轴 |
|
i=4 |
i=4.5~5 |
i=5.6~6.3 |
i=7.1 |
|
g |
d |
l |
g |
d |
l |
g |
d |
l |
g |
d |
l |
Q |
D |
L |
|
JDX400 |
270 |
120 |
200 |
270 |
100 |
200 |
270 |
90 |
180 |
270 |
80 |
140 |
270 |
160 |
200 |
|
JDX450 |
300 |
120 |
220 |
300 |
120 |
200 |
300 |
100 |
180 |
300 |
90 |
160 |
300 |
180 |
220 |
|
JDX500 |
320 |
140 |
240 |
320 |
140 |
200 |
320 |
110 |
180 |
320 |
100 |
160 |
320 |
180 |
240 |
|
JDX560 |
340 |
160 |
250 |
340 |
160 |
200 |
340 |
120 |
200 |
340 |
110 |
180 |
340 |
200 |
260 |
|
JDX630 |
370 |
180 |
250 |
370 |
160 |
230 |
370 |
130 |
200 |
370 |
120 |
180 |
370 |
220 |
300 |
|
JDX710 |
390 |
200 |
280 |
390 |
160 |
250 |
390 |
150 |
220 |
390 |
140 |
200 |
390 |
260 |
340 |
|
JDX800 |
425 |
220 |
300 |
425 |
180 |
260 |
425 |
18/0 |
240 |
425 |
160 |
200 |
425 |
300 |
380 |
|
JDX900 |
455 |
240 |
340 |
455 |
200 |
260 |
455 |
180 |
260 |
455 |
180 |
220 |
455 |
300 |
400 |
|
JDX1000 |
485 |
260 |
380 |
485 |
240 |
280 |
485 |
200 |
280 |
485 |
200 |
250 |
485 |
320 |
420 |
|
JDX1100 |
520 |
280 |
400 |
520 |
260 |
300 |
520 |
220 |
300 |
520 |
220 |
280 |
520 |
360 |
440 |
|
型号 |
a |
V |
H |
h |
U |
A |
F |
f |
R |
S |
N |
T |
B |
G |
油站型号 |
平均重量(Kg) |
|
JDX400 |
400 |
1050 |
850 |
400 |
50 |
820 |
700 |
/ |
275 |
60 |
4 |
27 |
450 |
390 |
YZ25 |
1450 |
|
JDX450 |
450 |
1160 |
950 |
450 |
50 |
900 |
780 |
390 |
305 |
60 |
4 |
27 |
510 |
450 |
YZ25 |
1950 |
|
JDX500 |
500 |
1260 |
1050 |
500 |
50 |
980 |
840 |
420 |
330 |
70 |
6 |
33 |
550 |
480 |
YZ40 |
2600 |
|
JDX560 |
560 |
1400 |
1170 |
560 |
55 |
1080 |
940 |
470 |
370 |
70 |
6 |
33 |
590 |
520 |
YZ40 |
3050 |
|
JDX630 |
630 |
1560 |
1310 |
630 |
55 |
1200 |
1060 |
530 |
420 |
70 |
6 |
39 |
640 |
57 |
YZ63 |
3400 |
|
JDX710 |
710 |
1750 |
1470 |
710 |
55 |
1350 |
1190 |
595 |
470 |
80 |
6 |
39 |
690 |
620 |
YZ63 |
4900 |
|
JDX800 |
800 |
2030 |
1650 |
800 |
70 |
1480 |
1280 |
640 |
500 |
100 |
6 |
39 |
760 |
680 |
YZ63 |
5800 |
|
JDX900 |
900 |
2140 |
1850 |
900 |
70 |
1650 |
1450 |
725 |
575 |
100 |
6 |
45 |
820 |
730 |
YZ63 |
8500 |
|
JDX1000 |
1000 |
2360 |
2050 |
1000 |
90 |
1820 |
1620 |
F/3 |
630 |
100 |
8 |
45 |
880 |
790 |
YZ125 |
9250 |
|
JDX1100 |
1100 |
2570 |
2250 |
1100 |
90 |
1980 |
1780 |
F/3 |
695 |
100 |
8 |
45 |
950 |
860 |
YZ125 |
11800 |
|
|
|
|
|
|
|
|
|
|
|
|
|
|
|
|
|
|
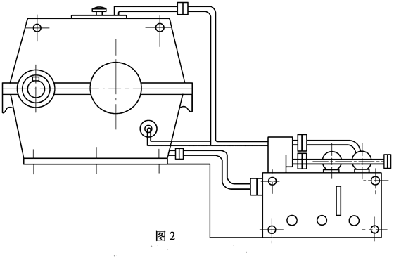
减速器与稀油站连接图
JDX系列边缘传动磨机减速器与稀油站连接图
